消防改造
消防維保
主機維修
聯系我們
- 聯系人:郭經理
- 傳真:010-69552656
- 電話:400-0346-119
- 電話:010-57113119
- 郵箱:506665119@qq.com
- 地址:北京通州區新華北路117號
FC18消防主機如何判斷回路短路點位置
來源:北京消防改造 時間:2019-10-14 16:22:55
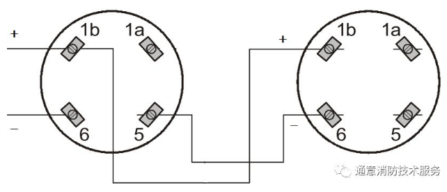
FC18的回路總線上設備安裝和工作方式與FC720有很大不同。舉個例子,FC18的煙感底座上的連線如圖下圖所示,接線方式是傳統的手拉手方式,這跟國內很多廠家的一樣,是無極性連接。

而FC720的煙感底座的接線方式是不一樣的,如下圖所示。這種接線方式是有極性的,而且在負極是分別接在兩個端子上。當底座上沒有安裝煙感時,5和6是相通的,安裝上煙感,則5和6就不通了。

所以在FC18消防主機上判斷回路總線短路點位置就比較困難了。
種情況是回路總線上不接隔離模塊(是一個單獨的設備,本身占回路地址)。
這種情況下,如果回路上存在短路點,則整條回路就不能正常工作,消防主機會報短路故障和所有點的通訊故障。這時可將回路線從回路卡上拆下,用萬用表量兩根線之間是否短路。至于短路點的具體位置,則只能分段查線,跟國內的很多消防主機一樣。
第二種情況,就是回路上安裝了隔離模塊,兩個隔離模塊之間可以安裝32個回路設備。如圖所示,回路按照支路連接。

當在兩個隔離模塊之間出現短路時,個隔離模塊會打開隔離器,則后面的所有的設備全部掉電,消防主機會報個隔離模塊的隔離器打開事件,并且隔離模塊的指示燈會被點亮。那么短路點位置只能初步判斷在個隔離模塊后面,具體位置只能查線確定。
如果是環路連接,如圖所示。

如果在兩個隔離模塊之間出現短路,兩個隔離模塊會同時打開隔離器,則兩個之間的設備就會掉電,主機報這些點的通訊故障,以及兩個隔離模塊的隔離器打開事件,并且兩個隔離模塊的指示燈會被點亮。其他設備不會受短路影響,能夠正常工作。這樣,短路點可以初步判斷在兩個隔離模塊之間,這樣就大大縮小的查線范圍。
當然,在實際現場施工過程中,在回路線上會有很多分支。雖然這樣會給施工布線帶來方便,但同時也給后期運行維護帶來很大麻煩。在國內這都司空見慣了,施工規則是一回事,實際施工又是另一回事,先掙到錢再說,很少有人管后面的運行維護。這就是國情,作消防維保就得接受現實,沒有太多捷徑可走。

